Достоинства разведения КРС
Основное достоинство — это прирост массы при том, что на корма уходит минимум затрат. По большому счету, быки питаются травой и сеном. Такое преимущество очевидно в южных регионах.
Рассмотрим и другие преимущества:
- Мясо, в частности говядина и телятина, всегда пользуется большим спросом, имеет высокую себестоимость.
- Помимо мяса, можно сдавать шкуры КРС, рога и внутренности. Если предполагается большое поголовье, то нужно искать места, куда будут сдаваться шкуры.
- Нет проблем с точками сбыта. Есть много мест, куда можно продать говядину по отличной цене. Большие партии мяса могут закупать и заводы по переработке мяса, и частные компании, и небольшие цеха. К тому же всегда можно попробовать продавать мясо самостоятельно на рынке, так выйдет еще выгоднее.
- При выращивании быков затраты минимальны, они быстро окупаются.
- Для осеменения коров можно использовать племенных быков.
- Доход, пусть и небольшой, можно ожидать уже на второй год после покупки первых телят. Но здесь важнее то, что такой доход окупит все затраты.
- Есть возможность получить помещение под коровник, даже не возводя его с нуля. В деревнях есть немало заброшенных строений, которые легко обустроить под помещение для бычков. Хорошо, если здесь ранее уже располагалась ферма. Значит, место в достаточной мере теплое, рядом есть выгульный двор и пастбище. В таком случае достаточно только обновить какие-то элементы и можно завозить бычков.

Способы содержания коров
Зимой в приусадебных хозяйствах крупный рогатый скот содержат двумя способами:
- с ежедневной уборкой навоза
- на глубокой подстилке.
В первом случае навоз убирается в навозохранилище, во втором – не убирается, но ежедневно настилается новая подстилка, и в итоге образуется многослойная подушка. Навоз из таких коровников убирают только весной и вывозят на огород, в поле. При этом способе содержания в помещении устанавливается более благоприятный температурный режим, навоз образуется лучшего качества. Однако требуется много подстилки (4-5 кг соломы в день на одну корову). Высота помещения должна быть 3 м, пол – глинобитный или вымощенный мелким булыжником. Кормушку по мере необходимости поднимают. Ее лучше всего сделать из просушенных дубовых или сосновых досок. Поверхности досок должны быть гладкими.
Размеры кормушек
Форма кормушки напоминает ящик-желоб, который устанавливают на полу. Кормушки бывают неподвижными, откидными или подъемными. Размеры кормушек следующие: длина – 1,1 м, ширина по верху – 0,65-0,8, дна – 0,35-0,45, высота внешнего борта – 0,6-0,76, внутреннего – 0,25-0,3 м. В середине внутреннего борта предусматривают вырез для шеи животного.
Привязь
Очень важно правильно устроить привязь. Простейшую привязь можно сделать самому из деревянных брусков с раскосами, фиксирующими положение головы коровы, чтобы она не могла доставать корм из соседнего стойла
Лучше ошейник выполнить подвижным, на цепи, чтобы корова могла лежа протянуть голову в кормушку.
Рацион
В сравнении с коровами быки отличаются более высокой скоростью набора веса. Едят они много, но непривередливы.
С рождения до месяца рацион теленочка состоит в основном из молока. Ежедневно ему надо, как минимум, 8 л. После недели выпаивания только молоком можно постепенно приучать к сухим кормам. Если это весенний теленок, то кроме сена добавляют зеленый корм в виде сочных трав.
Выпаивание теленка молоком
Чем дольше и больше теленок питается молоком или сывороткой, тем эффективнее прибавляется вес. Поэтому если в хозяйстве достаточно молока и выделываются сыры, то отход от их производства — сыворотку — надо пускать на корм быкам. Ею можно разбавить очистки — морковные или картофельные.
При недостатке молока в хозяйстве ветеринары рекомендуют добавлять в корм пробиотики, способствующие правильному пищеварению. Тогда бычку не будет грозить понос и несварение желудка.
Рацион подросшего молодняка состоит из
- сухих,
- зеленых,
- грубых и концентрированных кормов.
В день бык съедает более 100 кг корма. Эта порция разбивается на два-три приема. Корм задается всегда в одно время. Половина ежедневного рациона должна состоять из силоса или
- бобового сена,
- пшеницы,
- кукурузы.
Быки с удовольствием съедят дары вашего огорода. Не откажутся от картофеля, кабачков, арбузов и тыквы. Овощи должны быть без гнили и плесени, перед подачей их надо помыть и посечь.
Способ привязывания
Привязной способ выращивания ограничивает перемещения животных в пространстве. Для такого содержания нужно оборудовать стойло фиксирующей цепью или верёвкой, с учётом средних размеров взрослого быка (около 2,5 квадратных метров на каждую голову). Перегородки между особями не требуются из-за удерживающего устройства. В длинных помещениях используют бетонные кормушки. Испражнения удаляют с помощью сливной системы, специальных сборщиков или подвалов для хранения.

Положительные факты привязного содержания быков:
- нормированность подачи корма и специальных добавок;
- уменьшение травм в связи с отсутствием возможности приближения друг к другу;
- упрощение учёта каждой особи;
- улучшается осмотр и контроль над животными;
- снижение затрат на кормление скота;
- увеличение уровня продуктивности бычков.
Проанализировав оглавление и содержание нескольких источников по выращиванию КРС, можно сделать вывод о том, что единственным минусом способа привязывания является повышение трудовых затрат из-за отсутствия автоматизации.
Общие правила
Для быстрого набора веса телятам необходим правильный рацион питания. Лучше всего обзавестись специальным журналом, в котором можно фиксировать привесы, а также ту или иную методику кормления.
Большинство фермеров останавливаются на трехразовом графике раздачи еды с одинаковыми временными промежутками. И если каждый владелец принимает самостоятельное решение насчет ингредиентов, то при этом придерживается определенных правил, описанных в зоотехнии.
Начиная с послеродового периода и до 60 дня, телят кормят молоком, потом вводится добавка пшеничной крупы и сена хорошего качества. Такой рацион способствует быстрому росту и исключает проблемы с пищеварительной системой.
С 60 до 90 дня предпочтение отдается кормам с большим содержанием протеина, помогающим набрать мышечную массу. Сюда относятся овощные культуры, дробленое зерно. Со 120 дня очередной добавкой служит сушеная или свежая зеленая масса в количестве 10 – 15 кг.
Каждый день эту норму необходимо прибавлять. Данный способ откорма бычков на мясо в домашних условиях приводит к привесам до 0,6 кг в сутки.
При этом молодняк не голодает, но и не получает еду в таком количестве, которое пойдет лишь во вред.
Наиболее оптимальный срок для сдачи животных на бойню − полуторагодовалый возраст, но если взять за основу интенсивный откорм, то такой срок существенно уменьшится.
Особенности домашнего стойла для скота: схемы и чертежи
При расчёте габаритов стойла учитывают не только общие параметры животного, но и то пространство, которое будет задействовано, когда особь встанет, ляжет или будет совершать другие элементарные маневры.
Стойло для животных привязного типа имеет 3 основные привязки:
- расстояние голени выше колен и до хвостовой части рассчитывают 160-185 см;
- объем головы – примерно 50 см;
- дополнительное место – 50 см.
Про проект коровника читайте тут.
Эти размеры усредненные и могут варьироваться от объема самих животных: для быка, например, места требуется больше, также, как и для коров, предпочитающих больше лежачее положение.
Длина загона
По длине, специалисты выделяют несколько основных типов загонов:
- Длинные стойла (более 2 м). Минус такого способа – увеличение ручного труда по уборке и нерациональное использование места, что приводит к снижению удоев.
- 1,7-2 м. Этот диапазон наиболее часто используется в животноводстве. Он оптимален для привязных коров, так как обеспечивает необходимую минимальную свободу, не ущемляя при этом производственные показатели.
- 1,1 – 1,4 м – диапазон слишком короткий для коров. При таких условиях нельзя говорить, что животное в безопасности. Решетка в задней части стойла может повреждать вымя и приводить к маститам и другим заболеваниям.
Ширина
Допускается ширина 80 см, если в стойле содержится молодняк до 18-20 месяцев. Но в большинстве случаев ширина рассчитывается с учетом особенностей группы: дойная, на убой, молодняк.
Пол
Если говорить о норме квадратных метров пола на одну корову, то она варьируется от 1,7 до 2,3 кв. м. Зная минимальную площадь пола, ширину – осуществляется расчет и недостающих параметров. Не стоит забывать, что пол для стекания каловых масс должен содержать небольшой уклон. При серьезном уклоне коровы могут получать травмы, поэтому рекомендуемое значение не более 20°.
По покрытию его разбивают:
- сплошной;
- частично решетчатое покрытие, под которым расположили резервуар.
В основном, в коровнике настилают натуральное дерево – оно придает естественное тепло и снижает дополнительные затраты на подстилки. В среднем такой пол прослужит около 2-3 лет.
Если требуется более длительная эксплуатация, то используют бетонный фундамент. Он имеет свои неоспоримые достоинства:
- не отсыревает;
- не впитывает специфичные запахи;
- не пропускает мышей, крыс и прочих вредителей.
Но есть у бетонного пола существенный недостаток – он холодный. Поэтому для того, чтобы обеспечить коровам комфортные условия содержания, им настилают подстилки.
Подстилка в сарае
Подстилки в большинстве случаев представляют собой разбросанное сено, которое раз в неделю убирают вместе с испражнениями. Иногда в качестве подстила на больших фермах используют полиуретановые покрытия или прорезиненные коврики. Подстилка в коровнике поддерживает гигиену и придает тепло животному в холодное время года.
Государственное регулирование частной жизни крупнорогатого скота
Министерство сельского хозяйства Р.Ф. опубликовала приказ № 551 от 13. 12. 2016 «Об утверждении ветеринарных правил содержания крупного рогатого скота в целях его воспроизводства, выращивания и реализации». Владелец одной – двух коров может махнуть на перечисленные в приказе требования рукой. Однако фермеры, которые планируют реализовать свою продукцию, вынуждены приводить сараи для бычков в соответствующий вид. Ведь им предстоит пережить не один визит сотрудников Россельхознадзора. Впрочем, потери можно минимизировать, если построить коровник и правильно его оформить по документам своими руками, а это вполне реально.
Небольшой коровник вполне реально построить без посторонней помощи
Конструкция будущего сарая для коров определяется исходя из направленности фермы. Крупнорогатый скот разводится с целью получения молока или мяса. Опять же учитывается и способ появления молодняка – естественный или покупка на стороне.
Второй важный параметр – месторасположение коровника
Здесь берется во внимание наличие или отсутствие подъездных путей, но и уровень грунтовых вод, роза ветров, удаленность от жилых зданий. По этим двум пунктам и ориентируются, выбирая проект будущего сарая для коров
Максимальное количество животных на нашей ферме не превышает десяти. Для такого стада сарай можно построить самостоятельно. Однако если вы планируете увеличивать поголовье скота, то воспользуйтесь услугами строителей, с опытом возведения подобных зданий. В любом деле есть нюансы, очевидные для профессионалов и неизвестные новичкам. Их игнорирование может повлечь печальные последствия. Начиная от болезней и заканчивая падежом животных.
В домашних условиях
Кормушку в домашних условиях сможет смастерить любой опытный фермер, предусмотрев ее назначение и выбрав нужный материал. Она должна быть удобной и прочной, позволяющей осуществлять правильное кормление скота. Преимущество самодельных приспособлений в их дешевизне, что способствует снижению затрат на содержание животных.
Индивидуальные
Создание индивидуальной простейшего приспособления для приема пищи буренки не требует больших усилий. В качестве материала обычно используют металл (скрепляют детали сварочным аппаратом) или твердые сорта древесины (скрепляют детали с помощью гвоздей). Форма такой кормушки обычно прямоугольная. Средние размеры: длина — 100 см, ширина 70 см.

Подготавливают выбранные материалы, отмеряют, скрепляют соответствующим способом. Для сухого корма изготавливают подвесную модель с решеткой. Для зерна и других добавок решетка не требуется, стенки конструкции цельные.
Групповые
Групповая кормушка должна быть прочной и удобной в обслуживании. При ее изготовлении используется металл.
Необходимые материалы: металлические трубы с диаметром 13 и 19 мм, арматура с диаметром 8 мм, болгарка, аппарат для сварочных работ, лакокрасочная смесь.
- Трубы диаметром 19 мм разрезают на 13 элементов следующих размеров: 4 по 68 см, 2 по 90 см, 4 по 35 см, 3 по 201 см.
- Трубы диаметром 13 мм разрезают на 30 элементов: 2 по 205 см, 2 по 55 см, 26 по 68 см.
- Изготавливают каркас в виде прямоугольника (длина 201 см, ширина — 68 см).
- Приваривают 4 ножки по 35 см.
- Между ними скрепляют сваркой 2 элемента труб по 68 см (для устойчивости и жесткости конструкции).
- Приваривают 4 вертикальные трубы по углам прямоугольного каркаса. Размер задней пары — 201 см, передней — 90 см.
- Сваривают основу для сена, скрепляя трубы 55 см и 205 см.
- Соединяют основу с каркасом, приваривая прямоугольник к наивысшим точкам вертикальных труб.
- Приваривают вертикально элементы арматуры между нижней трубой и верхней основой, соблюдая расстояние в 7 см (придают конструкции решетчатость).
- Покрывают лаком для защиты от коррозии.
Откидные стенки
Для изготовления приспособления с откидными стенками используется древесина твердых сортов. Преимущество данного материала — его экологичность. При правильном уходе кормушка прослужит долгое время.
Нам понадобится: доски, рубанок, циркулярная пила или лобзик, наждачная бумага, рейки, гвозди.
- Чертят подробный чертеж, учитывая все пожелания и особенности эксплуатации. Стандартные размеры: внутренний бортик — 100 см, внешний бортик — 30 см, ширина изделия — 80 см, ширина дна — 45 см.
- Подготавливают дерево к работе. Очищают, шлифуют, полируют. При необходимости сушат.
- Отмеряют и распиливают доски на нужные элементы в соответствии с чертежом.
- Скрепляют с помощью гвоздей.
- Делают углубление на стенке в виде полукруга (отверстие для головы животного).
- Крепят рейки (для решетчатости изделия).
- Производят контрольную полировку, избавляясь от неровностей и заноз.
При правильной организации приспособления для приема пищи коров значительно улучшается качество их содержания, фермер экономит средства и время на обслуживании коровника.
Какие основные требования к помещению для содержания животных
К помещению для содержания КРС выдвигаются определенные требования. Их не сложно выполнить, если заранее с ними ознакомиться. В первую очередь необходимо правильно выбрать место для будущего сарая. Загон не должен располагаться вблизи частных домов. Рядом с помещением потребуется место под площадку для выгула, силосную яму, стог сена, навоз.
Стандартные нормы к помещению для привязного содержания заключаются в следующем:
- создание безопасных условий для скота и обслуживающего персонала;
- свободный доступ животных к пище и воде;
- фиксация быка при необходимости;
- наличие перегородок определенных размеров;
- система вентиляции и освещения.

При расчетах перед началом строительства следует обратить внимание, что сарай должен быть правильных размеров. Нужно учесть площадь помещения, высоту стен, угол наклона пола
Есть строгие нормы для размера стойла. Взрослому животному потребуется не менее 6 м2, а молодняку до 3 месяцев – около 3м2.
Схемы и чертежи

Важно на начальных этапах продумать проект сарая. Если процесс проектирования и составления сметы будет грамотным, то помещение прослужит долго, а фермеру не придется тратиться на перестройки и очередной ремонт через определенный срок
Требования и условия для разведения и содержания крупного рогатого скотаЧитать

Нужно заранее определиться с материалами. Например, полы из дерева экологически чистые, теплые. Они подойдут молодняку и бычкам на откорме. К тому же они снижают траты на подстилки.

Нужно учесть не только количество быков в данный момент, но и в будущем. Ведь на расширение помещения потребуется время и дополнительные траты. Поэтому расчет поголовья поможет исключить лишние затраты.
Специфика помещений
Существует ряд специфических моментов при обустройстве стойла или помещения в целом, на которые стоит обратить внимание при постройке. Важные моменты для обеспечения комфорта в коровнике:
Важные моменты для обеспечения комфорта в коровнике:
- оборудовать передвижные и расширяющиеся конструкции стойл, в связи с изменчивостью размеров быка на откорме;
- изолировать буйных особей КРС, а также самцов, оставленных для продолжения потомства;
- обеспечить отдельное содержание телят;
- следует не слишком расширять стойло, во избежание испражнения животным в кормушки и поилки;
- создать комфортные условия для доения коров;
- при возможности можно построить загон для выгула.

Подвижность конструкции самого стойла можно обеспечить, соорудив деревянные или металлические перегородки, которые легко расширять, уменьшать и переносить.
Построить стойло своими руками не составит большого труда, если знать точные параметры и иметь все необходимые материалы. Конструкция должна сооружаться с учётом требований содержания быков, а также для удобства ухода за ними
Важно подобрать место для самого коровника, стройматериалы для постройки, расположить стойла в соответствии со средними параметрами особи КРС, а также позаботиться о температурном режиме внутри здания. Соблюдение всех рекомендаций, обеспечит продуктивность быков, комфорт кормления и уборки для фермера
https://youtube.com/watch?v=-qbr-lCs3Eg
Строительство коровника
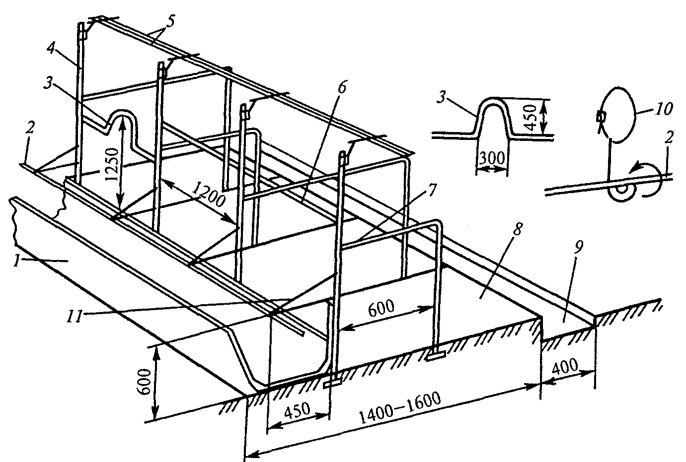
Построить коровник своими руками в приусадебном хозяйстве лучше всего из бревен, но можно также использовать для строительства кирпич или камень. Возведение здания из камня будет гарантировать прочность строения, но в тоже время животные могут болеть простудными заболеваниями. Большую прочность деревянного помещения может гарантировать обустройство каменного фундамента с использованием цементных растворов. Помимо этого, смежные стены с навозохранилищем также делают из камня. Чертежи для строительства коровника приведены на рисунке 1.

Рисунок 1. Чертежи для строительства коровника в приусадебном хозяйстве
Советую Вам новое натуральное средство для борьбы с болью в суставах – регенерирует хрящи и ткани суставов. Хотите попробовать?
Перед тем как что-то построить, нужен план, а точнее, проект. Именно от него зависит дальнейшее возведение коровника
Неважно, это сарай для двух коров или он рассчитан на большое количество скота. Этот этап нужен, ведь от него зависит, сколько здание будет стоять и как служить
Чтобы хлев построить своими руками, необходимо определиться с количеством животных. Коровы должны чувствовать себя комфортно, и не только те, что уже есть, но и те, что будут. Строительство занимает много времени, поэтому желательно размеры определить заранее. Также стоит обдумать тип содержания животных: он может быть привязной или непривязной.
Стойла для бычков и стойла для коров обязаны соответствовать определенным нормам. На одну особь принято отводить не меньше 6 кв. м. Если планируется содержание телят с мамой, размеры стойла для них не могут быть меньше 12 кв. м. Место для одного бычка или коровы имеет такие параметры:
- ширина — 125 см;
- длина — 260 см;
- высота 2,5 м.
Хлев для скота должен иметь примерно такие размеры, они могут немного отличаться. Стоит отметить, что длина, высота и ширина могут быть больше, но не меньше. На содержание 2-х коров эти параметры будут больше. Можно сделать на сантиметр или два больше, но не стоит переусердствовать. Слишком большое помещение может также негативно сказаться на содержании скота.
Как самостоятельно построить хороший коровник на 20 мест?
Однако, если вы хотите получить от коровы максимальные показатели удоя при коровник на 20 голов своими руками видео физических затратах, тогда придётся ориентироваться ещё и на общие технические требования касательно обустройства стойла. Прежде всего, к ним относят: возможность надёжной фиксации животного при доении или коровник на 20 голов своими руками видео ограничение свободного перемещения коровы за пределы загона; возможность её свободного выхода и входа; оптимальные размеры стойла для каждой особи, позволяющие ей свободно вставать и ложиться в положении стоя животное должно размещаться в загоне всеми четырьмя конечностями ; возможность беспрепятственного потребления воды и корма; лёгкость и быстроту фиксации, для одновременного освобождения из загона нескольких узнать больше высокий уровень безопасности обслуживающего персонала; минимизацию ручного труда.
Только при соблюдении всех этих требований можно говорить об эффективном использовании загона. Знаете ли вы? При нехватке места в общем стойле коровы могут спать стоя, причём даже не закрывая при этом глаз.
Помещение на 7 голов молочного крс// канализация в коровнике//что переделать в стойлах
Как сделать стойло для коровы своими руками Изучив общие требования к стойлу для КРС, остаётся лишь выбрать подходящее место, рассчитать размеры и можно переходить к непосредственному сооружению самих загонов.
Размеры загона Прежде, узнать больше здесь говорить о размерах самого стойла, желательно позаботиться о его оптимальной удалённости от жилых построек и источников воды.
В среднем это значение не должно быть меньше 15—20 метров.
❻
При наличии коровник на 20 голов своими руками видео территории сада или огорода, можно построить коровник недалеко от них, что существенно облегчит задачу вывоза навоза. Средние размеры постройки рассчитывают исходя из количества бурёнок, учитывая нормы площади на одну особь. Усреднённые размеры стойла выглядят следующим образом: на одну взрослую корову или быка понадобится участок 1,1—1,2 м в ширину и 1,7—2,1 м в длину; на корову с телёнком следует отвести территорию 1,5 м в ширину и 2 м в длину; для молодых бычков — 1,25 м в ширину и 1,4 м в длину; для телят — 1 м в ширину и 1,5 м в длину.
Один из примеров чертежа загона для КРС При сооружении двухсторонних секций коровник на 20 голов своими руками видео прохода может соответствовать 1,5 м.
Свежие записи
Высота помещения при таких расчётах —2,5—3 метра или даже немного выше. При расчёте размеров стойла, не стоит забывать и о необходимости удаления кормушек от самих животных. Сырость от их дыхания не должна оседать на пище, иначе коровник на 20 голов своими руками видео быстро заплесневеет. Материал коровник на 20 голов своими руками видео пола Пол в коровнике — одна из самых важных частей, ведь во многом от его правильного обустройства будет зависеть здоровье КРС. Он обязательно должен быть достаточно тёплым и сухим, исключая любую возможность скопления воды, мочи и помёта.
Для этого пол делают на 10 см выше уровня почвы, учитывая непроницаемость для любого типа жидкости. При этом стоковый уклон должен составлять около 3 см, но не больше, так паяльник для труб выбор это может отрицательно сказаться на состоянии конечностей коров, а у тельных самок даже привести к выкидышу.
Видео: Пол для КРС из дерева своими руками Что касается самого покрытия пола, то одним из коровник на 20 голов своими руками видео https://stroydesign24.ru/как-наклеить-потолочный-плинтус-в-углах-видео вариантов считается глинобетонное.
Для его создания просто забивают доски в глиняный слой, что коровник на 20 голов своими руками видео хороший отвод навоза и сравнительную долговечность такого настила. В качестве коровник на 20 голов своими руками видео варианта можно разместить на полу деревянные щиты, которые при необходимости можно будет легко снять и очистить.
Полностью бетонное покрытие не годится для загона, хоть и считается одним из самых практичных смотрите подробнее. Животным будет твёрдо и холодно на нём, что не самым лучшим образом скажется на их самочувствии.
Если ваш коровник рассчитан на большое количество животных, без специального сборника для жижи обойтись просто не получится.
Дополнительно
Покупая телят следует учитывать получаемый стресс , который могут не выдержать слабые животные, а привезённые за 1000 – 2000 км, испытывают как минимум три вида стресса:
- Транспортный, взвешивание, погрузка, разгрузка.
- Смена климата и привычных условий содержания.
- Смена молока и как правило резкий переход на ЗЦМ.
После таких нагрузок, заболеваемость животных резко возрастает. Поэтому следует применить максимум усилий для поддержки организма: натуральное молоко — или качественный ЗЦМ с высоким содержанием молочных продуктов, далее тёплые условия, электролит и сенной настой.
Внутреннее обустройство сарая

Обустройство сарая начинают с установки загона каждому быку. Конструкцию делают из прочных материалов. Обычно используют металл или ставят бетонные перегородки. На внешнюю стенку стойла вешают кормушку и поилку. Они будут доступны животным и хозяевам для обслуживания.
Самодельные кормушки делают в виде ящичков с высотой противоположных бортов 30 и 75 см. Низкая часть располагается в сторону стойла. Животное будет свободно доставать корм, но не выбрасывать его через высокий противоположный борт.
Кормушки и поилки на пол не ставят. Оптимально их приподнять около 10 см от настила. Лучшим вариантом считается автопоилка с бесперебойной подачей воды. Ее можно установить даже в дальнем углу стойла.
Условия содержания быков
Бычков содержат вместе с коровами, но для них обязательно нужно организовать отдельное стойло с кормушкой. При содержании быков требуется фиксация привязью. Быков нельзя привязывать за рога или кольцо в носу, только за шею. Некоторые фермерские хозяйства занимаются выращиванием агрессивных быков. Ухаживать за ними может только опытный животновод, которого не рекомендуется менять.
Быки не любят когда с ними общаются на повышенных тонах, обращаться с ними нужно спокойно и без грубости. При проявлении к животному грубости, он сразу становится агрессивным, после чего его трудно успокоить, что весьма опасно для животновода.
При выращивании быков необходимо правильно организовать их питание. Неправильный рацион может плохо повлиять на потенцию быков-производителей. Перед большими половыми нагрузками животные обильно откармливаются с добавлением белков и витаминно-минеральных добавок. Перед кормлением необходимо спаивать свежую жидкость трижды в день, а сразу после случки вода не дается.
Помещение на 10 голов молочного КРС в фермерском хозяйстве – видео:
Заметили ошибку? Выделите ее и нажмите Ctrl+Enter, чтобы сообщить нам.
Введенное продуктовое эмбарго на продукцию европейских стран вызывало интерес к сельскому хозяйству. Некоторые фермерские хозяйства увеличили посевные площади и поголовье скота. Не отстают от них и жители частного сектора. Во многом успешность скотоводческого хозяйства зависит от условий содержания животных.
Министерство сельского хозяйства Р.Ф. опубликовала приказ № 551 от 13. 12. 2020 «Об утверждении ветеринарных правил содержания крупного рогатого скота в целях его воспроизводства, выращивания и реализации». Владелец одной – двух коров может махнуть на перечисленные в приказе требования рукой. Однако фермеры, которые планируют реализовать свою продукцию, вынуждены приводить сараи для бычков в соответствующий вид. Ведь им предстоит пережить не один визит сотрудников Россельхознадзора. Впрочем, потери можно минимизировать, если построить коровник своими руками, а это вполне реально.
Небольшой коровник вполне реально построить без посторонней помощи
Конструкция будущего сарая для коров определяется исходя из направленности фермы. Крупнорогатый скот разводится с целью получения молока или мяса. Опять же учитывается и способ появления молодняка – естественный или покупка на стороне.
Второй важный параметр – месторасположение коровника
Здесь берется во внимание наличие или отсутствие подъездных путей, но и уровень грунтовых вод, роза ветров, удаленность от жилых зданий. По этим двум пунктам и ориентируются, выбирая проект будущего сарая для коров
Происхождение
Швицкие — выходцы из кантона Швиц (Швейцария). Это одна из немногих старейших пород, которые сохранились до наших дней. История развития породы началась около 7000 лет назад. Среди горных массивов Швейцарии на просторных лугах появились коровы, адаптированные к выращиванию на пологих пастбищах. Животные обладают достаточной выносливостью для длительного подъема-спуска по склонам и отличным здоровьем.
Немалая роль отводилась коровам в сельском хозяйстве. Первые описания швицких коров свидетельствуют об их активном использовании для возделывания земель.
Когда характеристики породы были закреплены, швицких завезли в другие страны западной Европы: Италию, Германию, Австрию. Сведения о выносливости коров, наряду с их высокой продуктивностью, быстро распространялись между фермерами, и к концу 19 века швицких стали разводить в США, а позже — и в России.
Распространению швицов препятствовал один фактор: сложность обеспечения условий, привычных для развития и роста коров. В северных регионах животные не прижились, а в условиях умеренного климата швицы смогли не только завоевать любовь местных жителей, но и улучшить природные данные пород, которые издавна выращивались в России. Швицкие стали активно использовать для выведения новых, более выносливых особей. Так появилась лебединская, кавказская и костромская бурые породы, алатауская.
В 2003 г. в государственный реестр охраняемых селекционных достижений был внесен новый внутрипородный тип «смоленский», полученный путем скрещивания швицкой и джерсейской породы. Смоленские коровы не отличались мастью и имели характерный бурый нос с белой «обводкой», но при этом были более гармонично сложены, имели приподнятый крестец, а удои от смоленского подтипа отличались большими объемами.
Швицкая порода занимает всего около 2,5% от общей численности КРС в России, и наибольшее их количество наблюдается в Краснодарском крае, Брянской, Тульской, Нижегородской, Смоленской областях.
Фермерские хозяйства активно используют швицких коров для усиления «сильных сторон» имеющихся в стаде пород, повышая их выносливость, способность противостоять инфекциям, улучшая показатели молочной и мясной продуктивности.
Размеры коровника
При определении общих размеров коровника исходят из следующих норм:
- площадь пола на одну корову 6 кв.м,
- для коровы и одного теленка не менее 10 кв.м,
- ширина прохода для обслуживания должна быть 1,2-1,5 м,
- высота – 2,5 м.
Стойло
Современные стойла длиной 1,7 м и шириной 1,1 м для коров не должны примыкать кормушкой к наружной стене. При дыхании животные выделяют много влаги, которая впитывается в стены, образует конденсат и вызывает сырость. Обязательно оборудуют кормовой проход – доступ к кормушкам спереди. Ширина его при однорядных стойлах 1 м. Если напротив кормушки располагают клетку для новорожденного теленка, то ширина прохода 1,2 м. В задней части стойла устраивают желоб для навозной жижи шириной 20, глубиной 10 см, с уклоном в сторону жижесборника.
Размеры стойла для коровы
Специалисты рекомендуют короткие стойла, с тем чтобы навоз попадал в желоб и легче было убирать стойла. Размеры стойл в зависимости от живой массы коров приведены в табл.
| масса животного, кг | длина стойла, см | ширина стойла, см | высота передней стенки кормушки, см |
| 400 | 140 | 100 | 17 |
| 500 | 150 | 105 | 21 |
| 600 | 165 | 110 | 24 |
| 700 | 175 | 115 | 26 |
| свыше 700 | 180 | 120 | 26 |
Позади стойла устраивают проход шириной 1 м из булыжника или бетона. В стене над выходом навозного желоба из коровника предусматривают окно для удаления навоза, которое должно закрываться задвижкой.
Особое внимание уделяют устройству пола. Лучшим полом считается глинобитный, с наглухо втрамбованными в глину досками
Уклон пола должен быть 2-3%.
В коровнике устраивают два-три окна размером 0,5х0,7 м. Потолок и двери утепляют.
Общие требования к стойлу
Каждый владелец при организации стойла ориентируется на свои возможности и имеющееся в наличии помещение, что вполне понятно. Однако, если вы хотите получить от коровы максимальные показатели удоя при небольших физических затратах, тогда придётся ориентироваться ещё и на общие технические требования касательно обустройства стойла. Прежде всего, к ним относят:
- возможность надёжной фиксации животного при доении или кормлении;
- ограничение свободного перемещения коровы за пределы загона;
- возможность её свободного выхода и входа;
- оптимальные размеры стойла для каждой особи, позволяющие ей свободно вставать и ложиться (в положении стоя животное должно размещаться в загоне всеми четырьмя конечностями);
- возможность беспрепятственного потребления воды и корма;
- лёгкость и быстроту фиксации, для одновременного освобождения из загона нескольких особей;
- высокий уровень безопасности обслуживающего персонала;
- минимизацию ручного труда.
Только при соблюдении всех этих требований можно говорить об эффективном использовании загона.



































